純正パーツカタログよりご注文又はお見積
YAMAHA MarineJet  2022年式  FX1800G WaveRunner FX Cruiser HO ビビツド リ-フ グリ-ン ソリツド 6 > 03 クランクケ-ス

見出番号

部品番号

部品名

数量

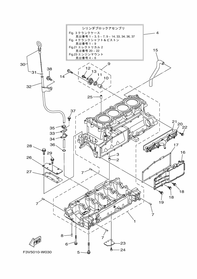
1

6CR-15100-20

クランクケ-スアセンブリ
クランクケ-スアセンブリ×1個

2

99530-10114

ピン,ダウエル
.-ピン,ダウエル×1個

3

93210-11453

O-リング
.-O-リング×1個

4

6CR-W009B-21-94

シリンダブロツクアセンブリ
シリンダブロツクアセンブリ×1個

5

90105-10071

ボルト,フランジ
ボルト,フランジ×10個

6

95814-06070

ボルト,フランジ
ボルト,フランジ×12個

7

93606-12019

ピン,ダウエル
ピン,-ダウエル×8個

8

93604-10M03

ピン,ダウエル
ピン,ダウエル×2個

9

69J-11301-11

アノードカバーアセンブリ
アノードカバーアセンブリ×1個

10

68V-11325-02

アノ-ド
.-アノ-ド×1個

11

67F-11328-01

グロメツト
.-グロメツト×1個

12

90105-06M07

ボルト,フランジ
.-ボルト,フランジ×1個

13

90430-06M03

ガスケツト
.-ガスケツト×1個

14

97E95-08540

ボルト,ヘキサゴンウイズワツシヤデイープリセス
ボルト,-ヘキサゴンウイズワツシヤ-デイープリセス×1個

15

6S5-11377-00

ホ-ス
ホ-ス×1個

16

6S5-1131M-10-8P

カバ-
カバ-×1個

17

6BH-13557-00

ガスケツト
ガスケツト×1個

18

95E34-06014

ボルト、フランジデイープリセス
ボルト、フランジ-デイープリセス×2個

19

95E34-06020

ボルト、フランジデイープリセス
ボルト、フランジ-デイープリセス×9個

20

6CS-12469-A0

ジヨイント1
ジヨイント-1×1個

21

6CS-12517-00

ガスケツト,ウオータインレツト
ガスケツト,-ウオータインレツト×1個

22

95814-06035

ボルト,フランジ
ボルト,フランジ×9個

23

6S5-13337-10

プレ-ト,バツフルロワ
プレ-ト,バツフルロワ×1個

24

90110-06182

ボルト,ヘキサゴンソケツトヘツド
ボルト,ヘキサゴンソケツトヘツド×1個

25

99530-10114

ピン,ダウエル
ピン,ダウエル×2個

26

6BH-1131C-00

カバー,ジヨイント
カバー,ジヨイント×1個

27

6BH-1131B-00

ガスケツト,カバー
ガスケツト,カバー×1個

28

95814-08020

ボルト,フランジ
ボルト,フランジ×4個

29

95814-06016

ボルト,フランジ
ボルト,フランジ×2個

30

6ET-15362-00

プラグ,オイルレベル
プラグ,オイルレベル×1個

31

93210-06632

O-リング
.-O-リング×1個

32

6JC-8572F-00

パイプ,オイルレベル
パイプ,-オイルレベル×1個

33

6BH-1319K-00

プレ-ト
プレ-ト×1個

34

6CS-85516-00

スペ-サ
スペ-サ×1個

35

90467-150A1

クリツプ
クリツプ×1個

36

93210-12016

O-リング
O-リング×1個

37

90109-06268

ボルト
ボルト×2個

38

90105-08021

ボルト,フランジ
ボルト,フランジ×1個