純正パーツカタログよりご注文又はお見積
KAWASAKI JETSKI  2022年式  JET SKI ULTRA 310LX > シリンダ/ピストン

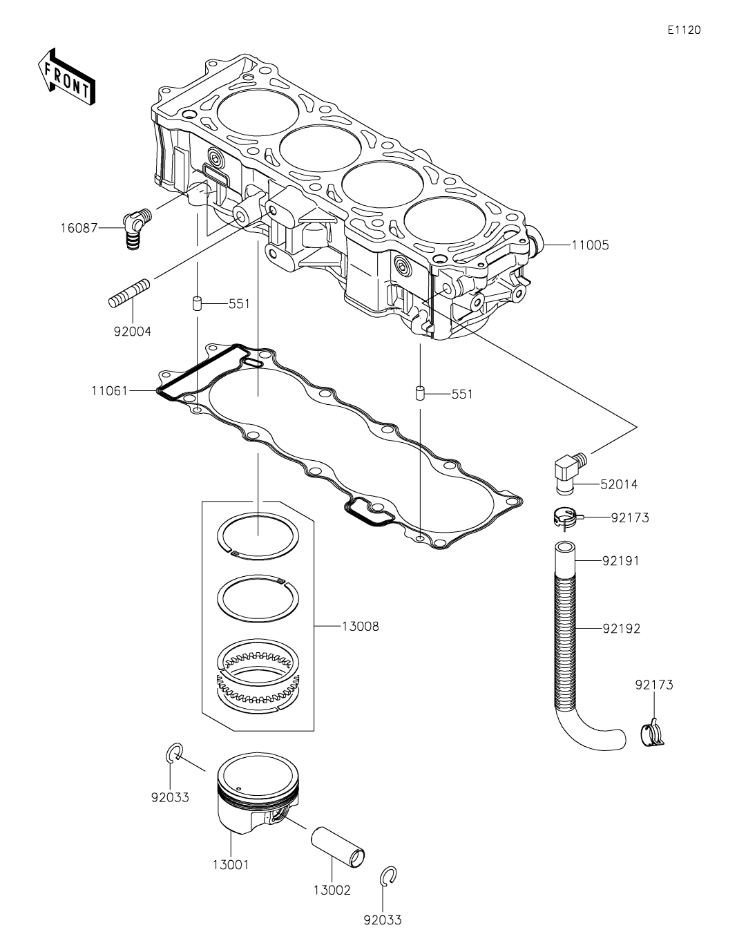
見出番号

部品番号

部品名

数量

11005

11005-0630

シリンダ(エンジン)
シリンダ(エンジン)(1個)

11061

11061-3770

ガスケツト,シリンダ ベース
ガスケツト,シリンダベース(1個)

13001

13001-0787

ピストン(エンジン)
ピストン(エンジン)(4個)

13002

13002-1131

ピン(ピストン)
ピン(ピストン)(4個)

13008

13008-0564

リングセツト(ピストン)
リングセツト(ピストン)(4個)

16087

16087-3714

バルブ(チエツク)
バルブ(チエツク)(1個)

52014

52014-3717

エルボ
エルボ(1個)

92004

92004-3759

スタツド,10X32
スタツド,10X32(1個)

92033

92033-1188

リング(スナツプ)
リング(スナツプ)(8個)

92173

92173-1039

クランプ
クランプ(2個)

92191

92191-3983

チユ-ブ,ブリ-ザ
チユ-ブ,ブリ-ザ(1個)

92192

92192-1083

チユ-ブ,コルゲート,L=265
チユ-ブ,コルゲート,L=265(1個)

551

551R0812

ノツク ピン
ノツクピン(2個)