
|
見出番号 |
部品番号 |
部品名 |
数量 |
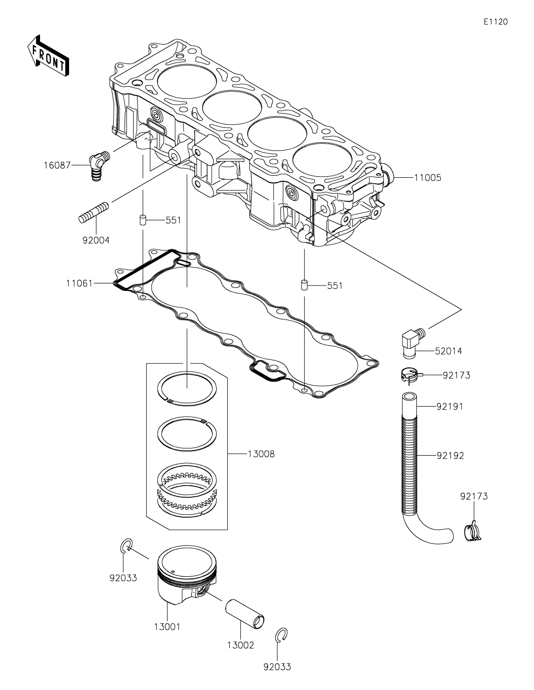
11005 |
11005-0630 |
シリンダ(エンジン) シリンダ(エンジン)(1個)
|
|
11061 |
11061-3770 |
ガスケツト,シリンダ ベース ガスケツト,シリンダベース(1個)
|
|
13001 |
13001-0787 |
ピストン(エンジン) ピストン(エンジン)(4個)
|
|
13002 |
13002-1131 |
ピン(ピストン) ピン(ピストン)(4個)
|
|
13008 |
13008-0564 |
リングセツト(ピストン) リングセツト(ピストン)(4個)
|
|
16087 |
16087-3714 |
バルブ(チエツク) バルブ(チエツク)(1個)
|
|
52014 |
52014-3717 |
エルボ エルボ(1個)
|
|
92004 |
92004-3759 |
スタツド,10X32 スタツド,10X32(1個)
|
|
92033 |
92033-1188 |
リング(スナツプ) リング(スナツプ)(8個)
|
|
92173 |
92173-1039 |
クランプ クランプ(2個)
|
|
92191 |
92191-3983 |
チユ-ブ,ブリ-ザ チユ-ブ,ブリ-ザ(1個)
|
|
92192 |
92192-1083 |
チユ-ブ,コルゲート,L=265 チユ-ブ,コルゲート,L=265(1個)
|
|
551 |
551R0812 |
ノツク ピン ノツクピン(2個)
|
|